|
 |
½ÚÄܵÆÏµÁÐ >> |
|
|
DGS60/127B¿óÓøô±¬ÐÍ°×³ãµÆ
 |
| Ò»¡¢ÊÊÓ÷¶Î§¼°ÓÃ; |
|
DGS60/127B¿óÓøô±¬ÐÍ°×³ãµÆ£¨ÒÔϼò³Æ60W°×³ãµÆ£©¡£ÊÊÓÃÓÚ¾ßÓÐÍß˹¼°Ãº³¾±¬Õ¨Î£ÏյĿó¾®ÖУ¬¿É¹©³µ³¡¼°»úµçá¼ÊÒ¡¢ÖÐÐıäµçËù¡¢´óÏïÔËÊä¡¢±Ã·¿µÈ³¡Ëù¹©ÕÕÃ÷Ö®Óá£
µÆ¾ß°´GB3836-2010¡¶±¬Õ¨ÐÔÆøÌå»·¾³ÓÃµçÆøÉ豸¡·¡¢MT221-2005¡¶Ãº¿óÓ÷À±¬µÆ¾ß¡·µÈÓйرê×¼Éè¼Æ¡¢ÖÆÔìÓë¼ìÑé¡£ |
| ¶þ¡¢Ðͺż°º¬Òå |
 |
| Èý¡¢Ö÷ÒªÌØµã |
¡ñ¸ô±¬Ãæ±íÃæ´¦Àí²ÉÓÃÏȽøµÄ¶Û»¯¹¤ÒÕ£¬ÄÜ·ÀÖ¹¾®Ïº¬Áò³±Êª³É·ÖÆøÌå¶Ô¿ÇÌåµÄ¸¯Ê´£¬ÄÜÕý³£¿ª¸Çά»¤¡£
¡ñµÆ¹Ü²ÉÓö¥¿ÚʽÉè¼Æ¡£²£Á§ÍâÕÖ¼°µÆ¹ÜÒâÍâÆÆËðʱ£¬¿É×Ô¶¯¶Ïµç£¬ÓÐЧ·ÀÖ¹ÓÉ´ËÒýÆðµÄÒâÍâʹʡ£
¡ñ¿ÇÌå±íÃæ¼°·À»¤Íø²ÉÓþ²µçÅçÍ¿¹¤ÒÕ´¦Àí£¬±£Ö¤µÆ¾ßÔÚ¾®Ï³±Êª¶ñÁÓ»·¾³Öеij¤ÆÚʹÓᣠ|
| ËÄ¡¢Ö÷Òª¼¼Êõ²ÎÊý |
|
²úÆ·ÐͺÅ
|
¶î¶¨¹¦ÂÊ
|
¶î¶¨µçѹ
|
ÕÕ¶È
|
ÒýÈëµçÀ¹æ¸ñ
|
ÖØÁ¿
|
|
DGS60/127B
|
60W
|
127V
|
≥10Lx
|
¡é10-14
|
3Kg
|
|
| Îå¡¢½á¹¹¸ÅÊö |
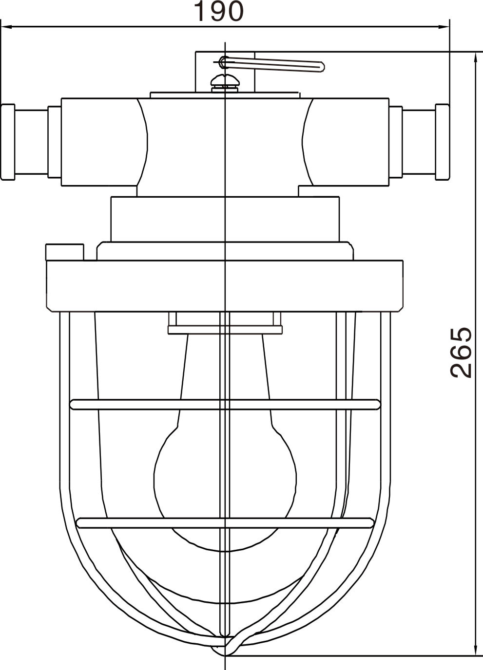
Áù¡¢ÍâÐγߴç |
| 60WÓ«¹âµÆÓÉÉÏ¡¢ÏµÆÌåÁ½²¿·Ö×é³É£¬ÒÔÈý¸öÖ¹¿ÚÏàÁ¬£¬²¢ÓÃÁ½¸öM5×14Âݶ¤¶¨Î»¡£ÉϵÆÌåÓÉÂÁºÏ½ðÍâ¿Ç¡¢µçÀÂÒýÈë×°Öü°ÉèÓÐÁ¬Ëø»ú¹¹µÄµÆ×ù×é³É£¬²¢ÉèÓÐÄÚÍâ½ÓµØÂݶ¤¡£ÏµÆÌåÓÉÂÁºÏ½ðÍâ¿Ç¡¢ÃÜ·âµæ¡¢·À±¬²£Á§ÕÖ¼°½ðÊô±£»¤Íø×é³É¡£ÂÁºÏ½ðÍâ¿Çת¶¯Ê±£¬ÄÜʹµÆ×ù´¥Í·×Ô¶¯¶Ïµç£¬´Ó¶ø±£Ö¤Á˰²È«¡£ µÆÍ·ÓëµçÔ´²ÉÓÃÖ±¿Úʽѹ½Ó·½Ê½¡£Ó«¹âµÆ±»Ñ¹ÔÚÉϵÆÌåÓëϵÆÌåÖ®¼ä¡£½ÓÏßÇ»Óë¹âÔ´Ç»¡¢µÆ¾ßÄÚÇ»ÓëÍâ½çÖ®¼äÓÉ·ûºÏ¹æ¶¨µÄ¸ô±¬½ÓºÏÃæÁ¬½Ó¡£ |
|
|
| ¡¾¸´ÖƵØÖ· ¡¿¡¾ ÊÕ²Ø ¡¿ ¡¾ ´òÓ¡ ¡¿ ¡¾ ¹Ø±Õ ¡¿ |
|
|
|